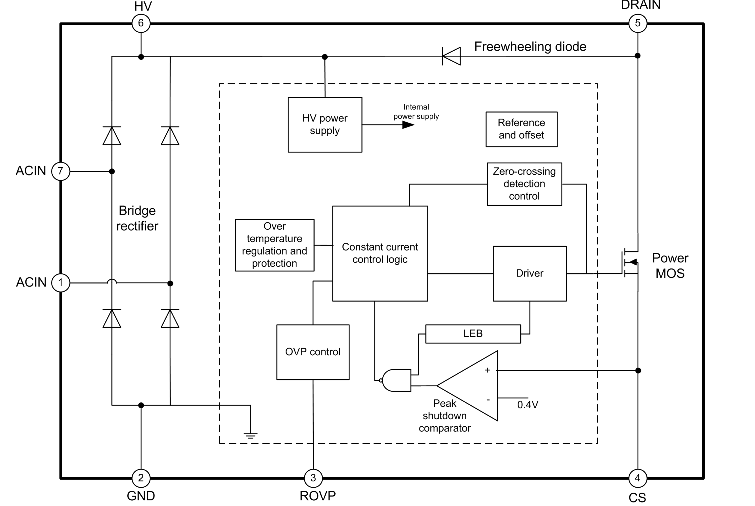
The SDH771XRN is a high accuracy LED constant current driver IC, it is applicable to non-isolated buck LED constant current power system with full AC input voltage range of 85VAC~265VAC.
The SDH771XRN creatively integrates a rectifier bridge, 500V high-voltage power MOSFET, and a 600V freewheeling diode, which greatly simplifies the requirements for peripheral device; moreover, it integrates a high-voltage power supply circuit, it is able to supply power to itself without any startup resistor and auxiliary winding, and at the same time, a conventional external power supply capacitor is omitted, which greatly shortens the startup time as well as saves the system cost.
The SDH771XRN works in inductor current boundary conduction mode, it uses a unique high-accuracy current sense technology, combined with internal compensation, can achieve high constant current accuracy and excellent line/load regulation. It provides various protections, such as output short/open circuit protection, cycle-by-cycle over current protection, over temperature regulation, over temperature protection, and open circuit protection for sensing resistor, which greatly improves the system safety and reliability. The open-circuit protection voltage can be set externally through the ROVP pin.
Integrated bridge rectifier
Integrated 600V ultra-fast recovery diode
Available 500V high voltage power MOSFET in one package with stable performance
Integrated high-voltage power supply, without the need for any external starting resistor and VCC capacitor
Accurate constant current threshold (<±3%)
Output short/open circuit protection
Open circuit protection threshold value external adjusted, strong resistance to moisture and interference
Over temperature regulation
Over temperature protection
Cycle-by-cycle over current protection
No auxiliary winding
| Product Name | Package form | Marking | Hazardous Substance Control | Packing Type | Remarks |
|---|---|---|---|---|---|
| SDH7711CRNTR | ASOP-7 | / | Halogen free | Tape&Reel | |
| SDH7711BRNTR | ASOP-7 | / | Halogen free | Tape&Reel | |
| SDH7711ARNTR | ASOP-7 | / | Halogen free | Tape&Reel | |
| SDH7711RNTR | ASOP-7 | / | Halogen free | Tape&Reel | |
| SDH7712RNTR | ASOP-7 | / | Halogen free | Tape&Reel |

| title | Types of | Size (KB) | date | Download the latest English version |
|---|---|---|---|---|
| SDH771XRN | 0 | 2022-01-18 | SDH771XRN Brief Datasheet |